X14T三通铜芯内螺纹旋塞阀

X14T三通铜芯内螺纹旋塞阀
  • 销售
  • 销售
  • 传真

详情介绍

  • 产品介绍
  • 服务承诺
  • 订货流程

X14T三通铜芯内螺纹旋塞阀 产品说明

主要性能参数

型号

公称压力
PN(MPa)

试验压力PN(MPa)

适用介质

工作温度(℃)

壳体

密封

X14T-1.0

1.0

1.5

1.1

水、蒸汽、油品

≤100

主要零件材料

零件名称

阀体

塞子

填料压盖

填料

X14T-1.0

铸铁

铸铜

铸铁

油浸石棉盘根
柔性石墨

旋塞阀

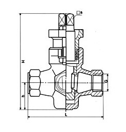
主要外形尺寸

公称通径
DN(mm)

管螺纹
G

尺寸(mm)

H

L

h

□S

15

1/2

117

85

30

12

20

3/4

126

90

34

16

25

1

160

110

42

18

32

11/4

176

130

48

18

40

11/2

210

150

64

26

50

2

238

170

76

28

65

21/2

250

220

80

30

80

3

340

250

115

38

100

4

350

300

125

42

良好的品质、优良的服务 济南俊豪家庭艺术设计有限公司为你创造更多价值!

“济南俊豪家庭艺术设计有限公司”的期望,不断提升服务质量,精益求精,“真诚的服务”是“济南俊豪家庭艺术设计有限公司”永恒的主题。“济南俊豪家庭艺术设计有限公司”严格按照IS09001-2000 质量体系认证要求,质量严格把关, 责任到人,确保生产、销售、服务的健康运行。加强与用户沟通,竭诚为广大客户提供优良产品,至善至美服务。特此我厂做出以下承诺:

产品标准:

产品严格按照中国GBHG 标准和美国API等标准设计、制造、验收。密封面硬度达到国家规定要求,宽度超过国家标准。

售前服务:

产品介绍,技术交流,非标产品设计,疑难解答。

售中服务:

守信合同,保证及时供货,随时保持与客户联系。 对特殊或复制的产品,我厂安排技术人员对用户进行产品使用、故障排除

售后服务:

1、“济南俊豪家庭艺术设计有限公司”牌产品品质期为自出厂起12个月,实行“三包”服务(包退、包换、保修)。

2、产品在使用中我厂定期组织技术、质检人员进行访问,征询用户对产品质量、 使用状况、改进意见等方面的反馈, 以便进一步提高产品质量。

3、对用户投诉质量问题,快速作出反应,售后服务人员在24-36小时(省外48小时)赶赴现场。

4、对售后服务,要求用户填写服务后的质量反馈信息表,并作出鉴定意见,以便提高济南俊豪家庭艺术设计有限公司的服务质量。

1、客户如对产品有特殊要求,须在订货合同中提供以下说明:

a、结构长度;

b、连接形式;

c、公称直径、全通径、缩径、管道尺寸;

d、运行介质及温度、压力范围;

e、试验、检验标准及其他要求

2、本厂可根据客户特定要求配置各类驱动装置。

3、如由客户提供确定的阀门类型和型号时,客户应正确说明其型号的含义和要求,在供需双方理解一致的条件下签订合同。

4、期货、订货的客户请先来电函详细告诉所需的阀门型号、规格、数量以及交货时间、地点,并按总的30%预定金或全额货款及时汇入我厂帐户,其余货款待发货前汇入,以便及时安排发货。

 

订单流程:

1、客户采购清单传真至,或来电咨询

2、收到客户采购清单,为客户提供阀门型号选型与报价(价格清单)。

3、具体商定:交货期、特殊要求等事宜。

订货须知:

1、客户如对产品有特殊要求,须在订货合同中提供以下说明:

a、结构长度;

b、连接形式;

c、公称直径、全通径、缩径、管道尺寸;

d、运行介质及温度、压力范围;

e、试验、检验标准及其他要求

2、本厂可根据客户特定要求配置各类驱动装置。

3、如由客户提供确定的阀门类型和型号时,客户应正确说明其型号的含义和要求,在供需双方理解一致的条件下签订合同。

4、期货、订货的客户请先来电函详细告诉所需的阀门型号、规格、数量以及交货时间、地点,并按总的30%预定金或全额货款及时汇入我厂账户, 其余货款待发货前汇入,以便及时安排发货。

售中服务:

守信合同,保证及时供货,随时保持与客户联系。

对特殊或复制的产品,我厂安排技术人员对用户进行产品使用、故障排除

售后服务:

1、“济南俊豪家庭艺术设计有限公司”产品品质期为自出厂起12个月,实行三包服务(包退、包换、保修)。

2、产品在使用中我厂定期组织技术、质检人员进行访问,征询用户对产品质量、使用状况、改进意见等方面的反馈,
以便进一步提高产品质量。

3、对用户投诉质量问题,快速作出反应,售后服务人员在24-36小时(省外48小时)赶赴现场。

4、对售后服务,要求用户填写服务后的质量反馈信息表,并作出鉴定意见,以便提高“济南俊豪家庭艺术设计有限公司”的服务质量。

声明

  1. 本文中所有文字、数据、图片均只适用于参考,X14T三通铜芯内螺纹旋塞阀性能参数、结构尺寸参数、价格等详情,请联系我们
  2. 若无说明,本文章均为原创,转载时请注明本文地址,谢谢合作!